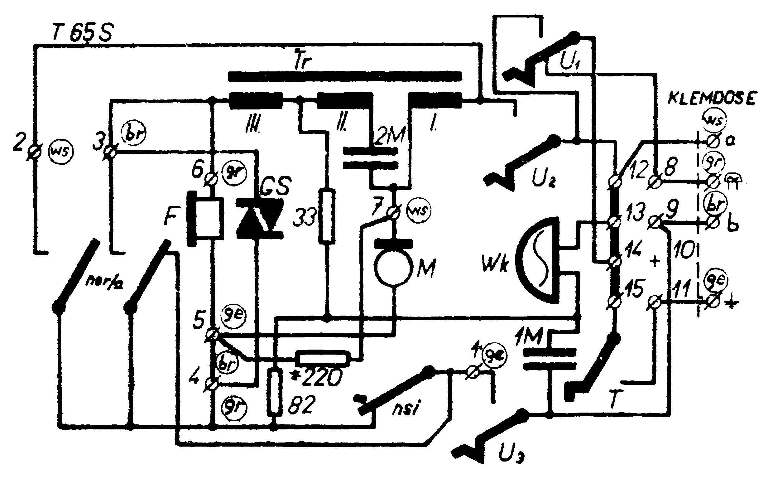
Fernsprecher T - 65 S

Hersteller:

Baujahr/Nummer:

Quellen:

Tesla /  CSSR

IX 1972 /  -

Stromlaufplan/Bauschaltplan

Weitere Angaben:

Werksbezeichnung: 3 FP 12088;   Stromlaufpla/Bauschaltplan  

T65S_02
T65S_Sp
Website_Design_NetObjects_Fusion