Fernsprechapparat alpha ferro, alpha uni
Hersteller:
Baujahr/Nummer:
Quellen:
VEB Fernmeldewerk Nordhausen
1983/ - ; 1988/ - 1980/ -; 1987/ -
Stromlaufpläne, Bauschaltpläne, Bauteilekatalog, Servicanleitung
Weitere Angaben:
Es gibt jeweils zwei verschiedene Ausführungen, eine bis 1985 und eine ab 1986. Äußerlich unterscheiden sie sich wie folgt:
Bis 1985: einteiliger Handapparat Typ Variant; runde Aussparung für den NS; runde Tasten Fernsprechapparat alpha ferro Zeichnungsnummer: 2031.550-140xx Fernsprechapparat alpha uni Zeichnungsnummer: 2031.551,xxxxx Ab 1986: zweischaliger Handapparat; schwarze Blende, eckige Tasten Fernsprechapparat alpha ferro Zeichnungsnummer: 2031.520-140xx Fernsprechapparat alpha uni Zeichnungsnummer: 2031.521-xxxxx
Innere Unterschiede gibt es natürlich auch: alpha ferro: Schaltung Variant mit Übertrager alpha uni: Schaltung ohne Übertrager aber mit einem Transistorverstärker Weiterhin habe ich den Fernsprechapparat alpha ferro Zeichnungsnummer: 2031.400-10001. Farben: 01 = grau, 06 = orange, 07 = signalrot, 12 = farngrün, zusätzlich: 02 = dunkelgrau, 39 = beige Eine Übersicht über weitere Angaben das alpha-Team finden sie hier.
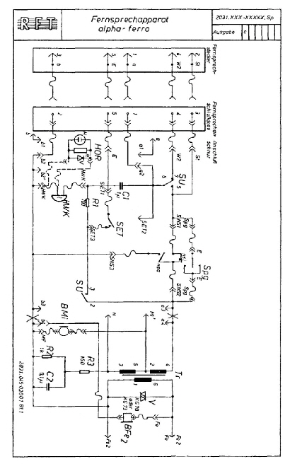
alpha ferro
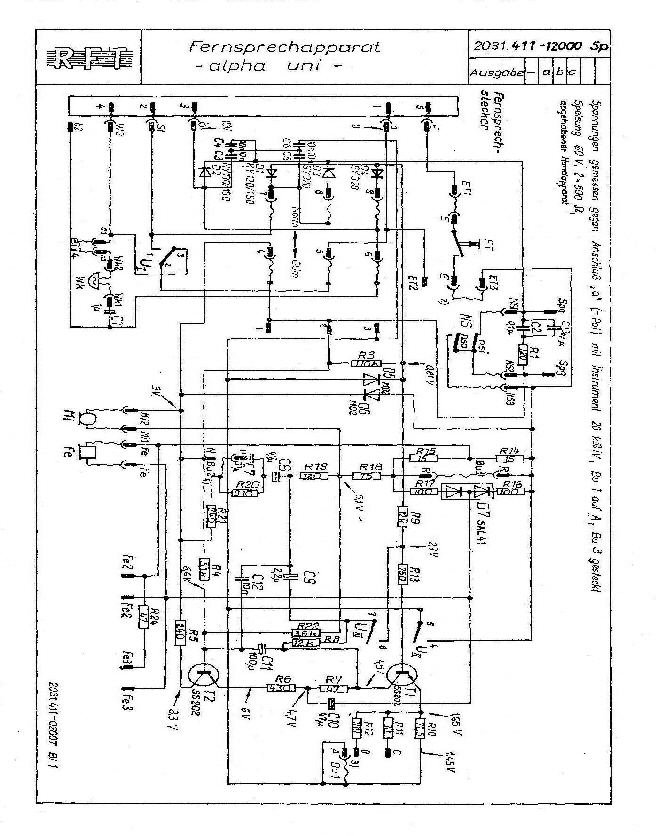
alpha uni










Von oben nach unten: alpha ferro 2031.550-14001 alpha ferro 2031.520-14007 alpha ferro 2031.400-10001 Stromlauf- u. Bauschaltplan: 2031.xxx-xxxxx BpSp

Von oben nach unten: alpha uni 2031.551-14001 alpha uni 2031.521-14007 Stromlauf- u. Bauschaltplan: 2031.411-02005 BpSp Stromlauf- u. bauschaltplan: 2031.551-10000 BpSp