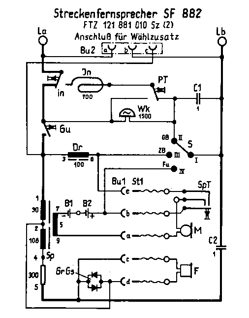
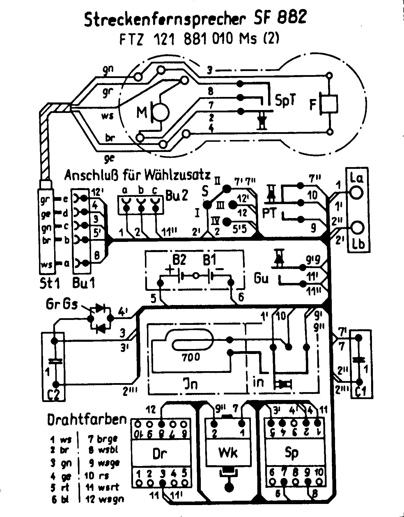
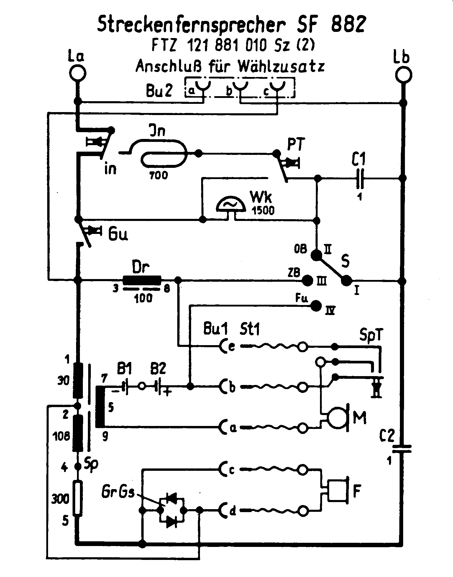
Streckenfernsprecher SF 882
Hersteller:
Baujahr/Nummer:
Quellen:
Krone GmbH Berlin
09/1959 / -
ohne
Weitere Angaben:
Betriebsarten: OB - ZB - Funk, Stromversorgung: 2 x 1,5 V - Monozellen, Postzulassung
FTZ 121 881 010 Ms (2) Bp, TZ 121 881 010 Sz (2) Sp



Rechts unten fehlt der Wecker. Er war leider defekt. Mittlerweile klingelt er aber wieder.